日韩不卡免费视频LOGO

全国咨询热线

400-820-0603
客户案例

热门产品:

螺杆无油空压机 水润滑无油空压机 涡旋无油空压机 中压无油空压机

干式无油螺杆空压机

干式无油螺杆空压机

功率 45~315KW 排气量 3.78~50.09mm³/min 立即咨询 >
无油涡旋空压机

无油涡旋

功率 2.2~37kw 排气量 0.22~4.0m³/min 立即咨询 >

400-820-0603

021-57366601

立即咨询 >

日韩不卡免费视频干式无油螺杆空压机

时间:2020-01-14 17:28

来源:日韩不卡免费视频无油空压机

作者:日韩不卡免费视频1111

点击:

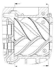
日韩不卡免费视频干式无油螺杆空压机是一种双轴旋转容积式空压机,它的阳转子()和阴转子()均带有螺旋形叶片,它们之间间隙非常小,在转子壳体()内紧绕转子运转。

阳转子叶片和阴转子叶片的齿形更为符合各空压机主机的压力比。空压机介质的进气和排气通过空压机主机壳体上形状特殊的气孔完成。
 

阳转子和阴转子

:①阳转子;②阴转子;③转子壳体;

进气侧(A)的空间随着转子的旋转不断扩大,当叶片隔断进气开口时达到更大。与此同时,与此同时,在锁止叶片和向前叶片之间会形成一个密闭的V形作业空间。在此作业空间内,压缩介质转移至仍然对其进行压缩,从而实现内部压缩。内部压缩由出口的几何形状(“内置压力比”)决定。

当旋转超出出口轮廓时,作业空间打开,压缩介质排空(B)。接着,作业空间会逐渐缩小接近至零。仅剩“余隙空间”内的介质不能排空,但会循环流通。更佳的齿形形状可保持更小的余隙空间。
 

排气侧压缩介质排出

:A—排气侧;B—压缩介质排空;

与往复式空压机不同,(根据阳转子叶片的数量)螺杆式空压机的阳转子每转动一次,吸气、压缩和排气重复三或四次,从而确保持续且低振动的气量输送。

和喷油式空压机不同,日韩不卡免费视频空压机主机的压缩完全是"干式"的。这会造成压缩介质急剧升温,从而限制了每一台空压机主机的压缩比。由于没有润滑,阳转子和阴转子必须是无触式啮合,但两者间的间隙为更小。这通过转子轴上的高精度同步齿轮(正时齿轮)完成。

螺杆式无油空压机没有像活塞、杆或阀门之类的振动零件,这可尽可能地减少运行中的振动,并可降低支承件和联轴器的动负载。

螺杆式无油空压机具有较少的机械零件,特别是封闭部件,这意味着机器停机风险很低。

日韩不卡免费视频无油空压机,百分百无油,全无油空压机拥有核心主机制造技术,一流的加工、检测平台,为您提供高效稳定、节能环保的空压机产品。厂家直销,全国联保。为您提供更加方便快捷的售后服务。如果您有对无油空压机的需求或想了解更多的信息,欢迎留言咨询或拨打日韩不卡免费视频全国客服热线:400-777-0802!


相关资讯